
快速通道产品搜索 |
Allectra组合型真空馈通(高电流/热偶型)(Feedthroughs)
* 来源 : Allectra * 作者 : Allectra * 发表时间 : 2021-10-27 * 浏览 : 423
本站Allectra产品型号齐全,如未找到您所需要的产品,请联系我们15301310116(微信同号) Allectra组合型真空馈通(高电流/热偶型)(Feedthroughs),组合型真空馈通可满足真空环境下同时需要加热及测温的应用。高电流版本可满足电流高达150A的应用,比如真空炉。
图1:高电流-组合型热偶真空馈通技术指标 高电流-组合型热偶真空馈通采用铜电极,热偶可选K/C型。电极直径可选2.4mm/4.0mm/6.35mm,对应电流分别可达30A/60A/150A。
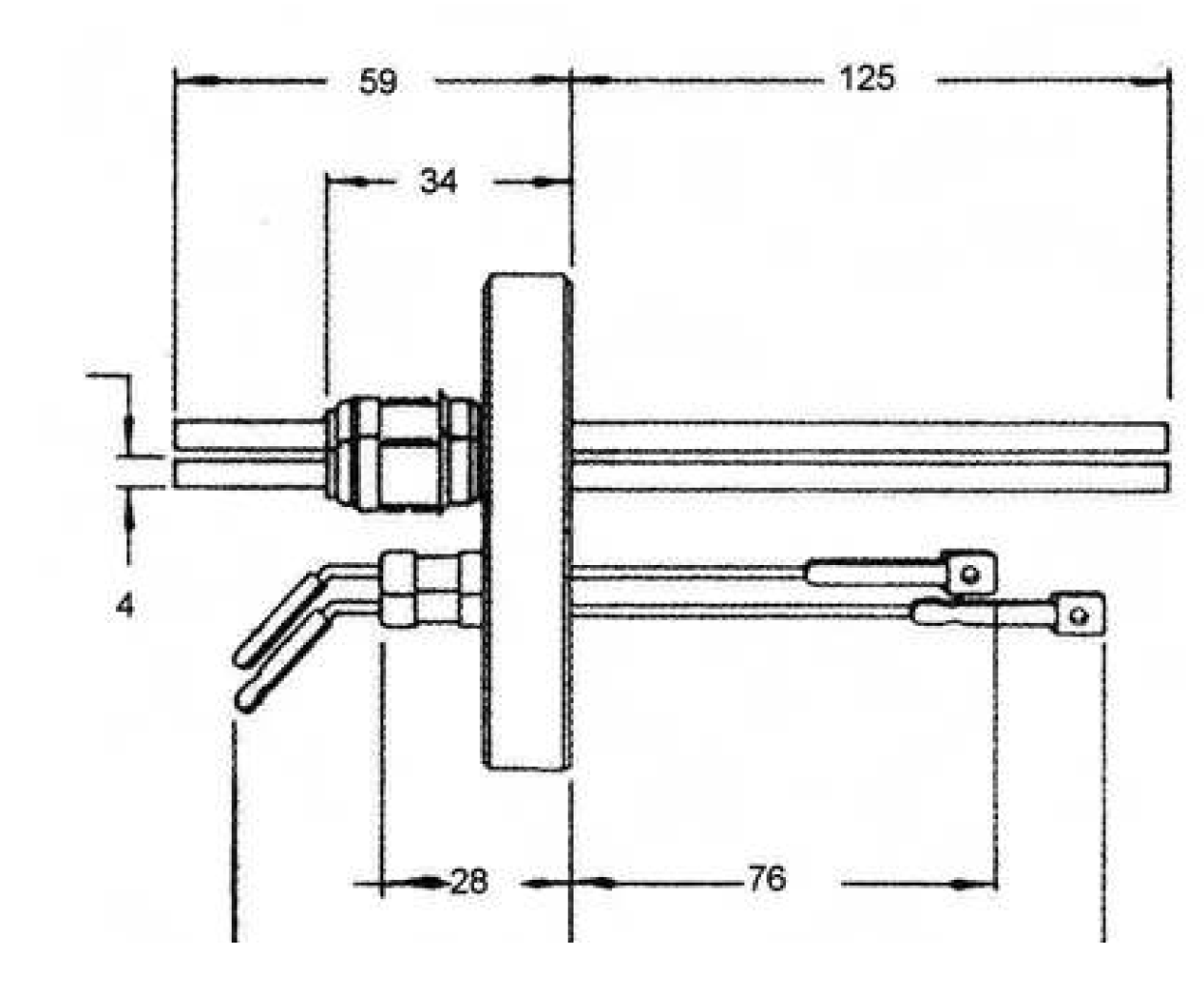
图2:263-TCK-1-CU60-2-C40组合型真空馈通尺寸图
图3:263-TCC-2-CU60-3-C40组合型真空馈通三维图
图4:263-TCK-1-CU150-2-C40组合型真空馈通实物图 以上就是北京麦迪森科技有限公司提供的Allectra组合型真空馈通(高电流/热偶型)(Feedthroughs)
|
|
|